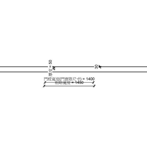
雙扇肯特鋼製鋼木防火門_匣式機械鎖E-319_重型鉸鏈_外露式門弓器 _400v18
OmniClass 編碼:23-17 11 31
OmniClass 類別:防火門 Fire Doors
MasterFormat 編碼:08 11 00
MasterFormat 類別:鋼門扇及門樘 Metal Doors and Frames
PCCES 編碼:08 170
LOD:400
元件供應商:世紀防火科技股份有限公司
設計/生產地:臺灣/臺灣
1. 內構材由纖維硫酸複合板與無機複合板接合可增加隔熱係數並可提升結構強度
2. 鋼製門有防潮、防水、增強防盜強度的優點
3. 表面材樣式多變可滿足不同客戶的要求
碳足跡:kgCO2e
資料建置中
初審單位:中華民國全國建築師公會
複審單位:中華民國全國建築師公會
Free
model formats
Revit
-
雙扇肯特鋼製鋼木防火門_匣式機械鎖E-319_重型鉸鏈_外露式門弓器 _400.rfaver.2018 5.63 MB
ArchiCAD
- 暫無資料
AutoCAD
- 暫無資料
IFC
- 暫無資料
驗證證書
試驗報告書
相關配件
| 類別 | 形式 | 廠牌 |
|---|---|---|
| 門鎖 | 匣式機械鎖 | 崧日、泰登、東鐵、東隆、財神、Häfele、金冠、極優異、上博、多瑪、強棒、廣盈、加凱、俐昌、MOTTURA |
| 門鎖 | 匣式電子鎖 | 怡群、鍾石、華豫寧、加安、瑋豪、三星、YALE、敦義、神盾、日堡、東隆 |
| 門鎖 | 平推鎖 | 加安、加安、凱盟、金冠、東鐵 |
| 門鎖 | 喇叭鎖 | 東鐵、史丹利、加安 |
| 門鎖 | 水平輔助鎖 | 加凱、東鐵、加安、東隆、金冠、加安 |
| 門鎖 | 陽極鎖 | 東鐵、廣盈、大友、禮銳、加凱 |
| 門鎖 | 磁力鎖 | 廣盈 |
| 門鎖 | 陰極鎖 | 廣盈、俐昌 |
| 鉸鏈 | 旗型鉸鏈 | 東鐵、廣盈 |
| 鉸鏈 | 蝶型鉸鏈 | 廣盈、東鐵、多瑪、賜福、凱盟、Häfele、加凱 |
| 鉸鏈 | 重型鉸鍊 | 佑叡、裕泰、俐昌 |
| 鉸鏈 | 地鉸鏈 | 凱盟、佑叡、俐昌、多瑪、盈昌、東鐵、加安、廣盈、泰德軾 |
| 鉸鏈 | 非自由鉸鏈 | 東鐵、佑叡、廣盈 |
| 鉸鏈 | 自動回歸鉸鏈 | 笠源 |
| 門弓器 | 外露式門弓器 | 加凱、東鐵、俐昌、東隆、廣盈、泰德軾、新糧 |
| 門弓器 | 隱藏式門弓器 | 泰德軾、加安、東鐵、多瑪、賜福、廣盈、台灣宏禕 |
| 門弓器 | 電動門弓器 | 廣盈 |
評分與評論
5.0
共0 則評分
5
4
3
2
1
暫無評論
相關元件
門
M_側燈 2_V13
施正之建築師事務所
9,124
門
雙扇橫拉防火門(有框)
賜福門窗股份有限公司
17,361
窗
M_有裝飾外框的滑軌_V13
施正之建築師事務所
10,193
窗
M_有裝飾外框的推開窗_V13
施正之建築師事務所
9,856
窗
M_窗-圓形開口_V13
施正之建築師事務所
10,276
門
塑鋼門_浴廁_90X210
創優微圖股份有限公司
10,176
窗
一欄二列上掀窗v17
台北國際聯合建築師事務所
9,910
門
雙-嵌平_V18
台灣積體電路製造股份有限公司
3,868
門
M_雙-嵌平_V13
施正之建築師事務所
11,292
窗
固定窗_V18
台灣積體電路製造股份有限公司
4,226

















