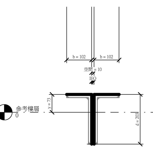
M_LL-雙角鋼_V13
OmniClass 編碼:23-13 35 00
OmniClass 類別:構架產品 Framing Products
MasterFormat 編碼:05 12 00
MasterFormat 類別:結構鋼 Structural Steel Framing
PCCES 編碼:05 120
PCCES 類別:結構鋼 Structural Steel
LOD:300
元件供應商:施正之建築師事務所
設計/生產地:資料建置中
產品網址:資料建置中
資料建置中
碳足跡:kgCO2e
資料建置中
初審單位:中華民國全國建築師公會
複審單位:中華民國全國建築師公會
Free
model formats
Revit
-
M_LL-雙角鋼.rfaver.2013 644 KB
ArchiCAD
- 暫無資料
AutoCAD
- 暫無資料
IFC
- 暫無資料
評分與評論
5.0
共0 則評分
5
4
3
2
1
暫無評論
相關元件
外牆
M_實體 CMU-側面
施正之建築師事務所
11,964
柱
M_G 次龍骨_V13
施正之建築師事務所
10,750
柱
RSJ-輾壓鋼托樑_V13
施正之建築師事務所
12,665
外牆
M_實體 CMU-剖面
施正之建築師事務所
11,547
板
M_預鑄實體平樓板-頂部
施正之建築師事務所
12,045
柱
M_SLDQ 套管部件-直鋼筋
施正之建築師事務所
13,198
外牆
M_圓形有凹槽的 CMU-頂部
施正之建築師事務所
9,887
外牆
M_地面 CMU-頂部
施正之建築師事務所
10,274
樑
M_雙 T 形托樑-側面
施正之建築師事務所
11,802
外牆
M_絕緣連接 HIT-BX-Q-MOD
施正之建築師事務所
12,879
外牆
M_橡膠窗框 T 形砌塊-頂部
施正之建築師事務所
11,342













