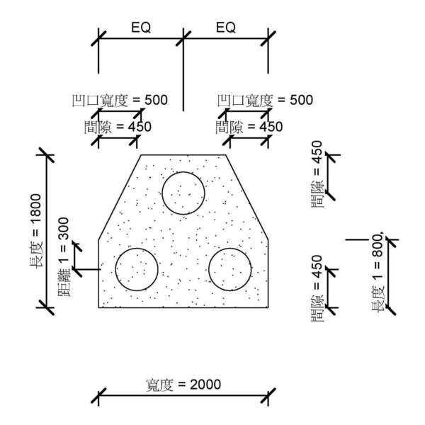
M_樁頂蓋-3 樁_V13
OmniClass 編碼:23-13 29 00
OmniClass 類別:基礎 Foundations
MasterFormat 編碼:31 66 00
MasterFormat 類別:特殊基礎 Special Foundations
PCCES 編碼:02 452
PCCES 類別:基礎 Foundation
LOD:300
元件供應商:施正之建築師事務所
設計/生產地:資料建置中
產品網址:資料建置中
資料建置中
碳足跡:kgCO2e
資料建置中
初審單位:中華民國全國建築師公會
複審單位:中華民國全國建築師公會
Free
model formats
Revit
-
M_樁頂蓋-3 樁.rfaver.2013 272 KB
ArchiCAD
- 暫無資料
AutoCAD
- 暫無資料
IFC
- 暫無資料
評分與評論
5.0
共0 則評分
5
4
3
2
1
暫無評論
相關元件
外牆
M_成形窗台 CMU-側面
施正之建築師事務所
9,864
樑
M_混凝土柱-矩形-側面
施正之建築師事務所
11,433
板
M_預鑄混凝土雙 T 形_V13
施正之建築師事務所
14,580
外牆
M_CMU-3 核心-側面
施正之建築師事務所
9,222
板
M_預鑄-矩形樑_V13
施正之建築師事務所
12,112
柱
M_承口 HSD-P
施正之建築師事務所
12,328
外牆
M_圓形有凹槽的 CMU-側面
施正之建築師事務所
10,271
柱
M_SLD Plus 定位銷部件
施正之建築師事務所
11,349
柱
M_WWF-焊接寬凸緣_V13
施正之建築師事務所
11,745
外牆
M_絕緣連接 HIT-BX
施正之建築師事務所
12,462
柱
M_樁帽-矩形_V13
施正之建築師事務所
10,566
板
M_預鑄有柄平台構件-雙 T 形-側面
施正之建築師事務所
11,056













