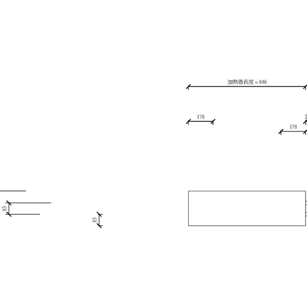
M_暖氣機 - 櫥櫃 - 直立
OmniClass 編碼:22-23 82 39
OmniClass 類別:機組加熱器 Unit Heaters
MasterFormat 編碼:23 82 39
MasterFormat 類別:單元加熱器 Unit Heaters
PCCES 編碼:15 760
LOD:300
元件供應商:施正之建築師事務所
設計/生產地:資料建置中
產品網址:資料建置中
資料建置中
碳足跡:kgCO2e
資料建置中
初審單位:中華民國全國建築師公會
複審單位:中華民國全國建築師公會
Free
model formats
Revit
-
M_暖氣機 - 櫥櫃 - 直立.rfaver.2018 264 KB
ArchiCAD
- 暫無資料
AutoCAD
- 暫無資料
IFC
- 暫無資料
評分與評論
5.0
共0 則評分
5
4
3
2
1
暫無評論
相關元件
空調工程
集風箱_V22
施正之建築師事務所
7,601
空調工程
返回擴散器_V18
台灣積體電路製造股份有限公司
6,538
電力系統
M_導管蓋 - PVC
施正之建築師事務所
12,073
空調工程
M_供氣分佈口 - 矩形面圓形頸
施正之建築師事務所
13,433















