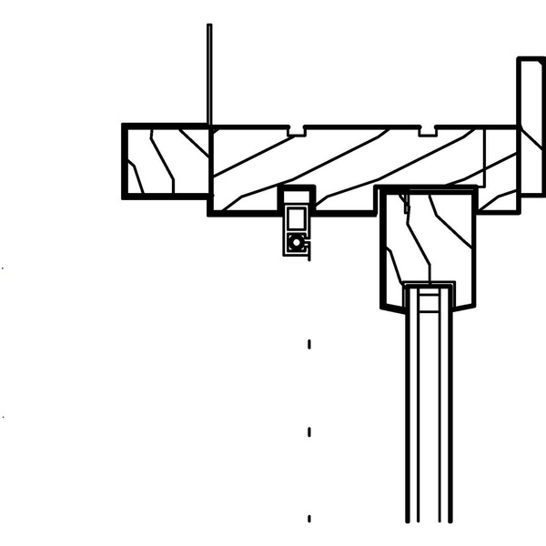
M_包面木製推拉窗-邊框-剖面
OmniClass 編碼:22-08 52 00
OmniClass 類別:木窗 Wood Windows
MasterFormat 編碼:08 52 00
MasterFormat 類別:木窗 Wood Windows
PCCES 編碼:08 550
PCCES 類別:木窗 Wood Windows
LOD:300
元件供應商:施正之建築師事務所
設計/生產地:資料建置中
產品網址:資料建置中
資料建置中
碳足跡:kgCO2e
資料建置中
初審單位:中華民國全國建築師公會
複審單位:中華民國全國建築師公會
Free
model formats
Revit
-
M_包面木製推拉窗-邊框-剖面.rfaver.2018 248 KB
ArchiCAD
- 暫無資料
AutoCAD
- 暫無資料
IFC
- 暫無資料
評分與評論
5.0
共0 則評分
5
4
3
2
1
暫無評論
相關元件
窗
M_包面木製滑軸窗-窗楣-剖面
施正之建築師事務所
11,928
門
M_雙層鑲嵌玻璃店面-側燈處的門邊框-剖面
施正之建築師事務所
12,186
窗
M_包面木製上下拉窗-窗台-剖面
施正之建築師事務所
12,093
門
M_木製推拉門-門楣-剖面
施正之建築師事務所
13,910
窗
M_天窗圍欄-單層鑲嵌玻璃-剖面
施正之建築師事務所
12,946
門
蝶型鉸鏈v2_V18
施正之建築師事務所
6,346
門
水平輔助鎖門把_V18
施正之建築師事務所
6,393
窗
M_包面木製推拉窗-固定邊框-剖面
施正之建築師事務所
12,160
窗
M_木製上下拉窗-邊框-剖面
施正之建築師事務所
11,750
窗
M_包面木製推拉窗-窗台-剖面
施正之建築師事務所
12,333
門
M_雙層鑲嵌玻璃店面-塗層處的門邊框-剖面
施正之建築師事務所
12,144
窗
M_包面木製上下拉窗-窗楣-剖面
施正之建築師事務所
11,527
門
匣式水平鎖400
宗陞智能工程有限公司
6,701
外牆
格柵排氣口30_V22
施正之建築師事務所
6,617
外牆
格柵排氣口40_V22
施正之建築師事務所
7,052
門
平推鎖300
宗陞智能工程有限公司
6,703
帷幕系統
M_鋸齒形表面_V13
施正之建築師事務所
14,154
門
M_中央鑲嵌玻璃店面-門楣-剖面
施正之建築師事務所
11,587
門
M_門檻-緊急出口踏板-剖面
施正之建築師事務所
11,374
門
M_門檻-踏板-剖面
施正之建築師事務所
12,969

