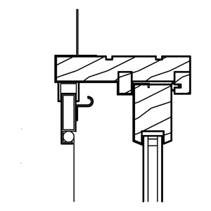
M_嵌板 - 鑲嵌玻璃
OmniClass 編碼:22-08 44 00
OmniClass 類別:帷幕牆及鑲嵌玻璃組裝 Curtain Wall and Glazed Assemblies
MasterFormat 編碼:08 44 00
MasterFormat 類別:幕牆和玻璃裝配體 Curtain Wall and Glazed Assemblies
PCCES 編碼:08 900
PCCES 類別:鑲嵌玻璃帷幕牆 Glazed curtain wall
LOD:300
元件供應商:施正之建築師事務所
設計/生產地:資料建置中
產品網址:資料建置中
資料建置中
碳足跡:kgCO2e
資料建置中
初審單位:中華民國全國建築師公會
複審單位:中華民國全國建築師公會
Free
model formats
Revit
-
M_嵌板 - 鑲嵌玻璃.rfaver.2018 224 KB
ArchiCAD
- 暫無資料
AutoCAD
- 暫無資料
IFC
- 暫無資料
評分與評論
5.0
共0 則評分
5
4
3
2
1
暫無評論
相關元件
門
M_鋁製推拉門-門楣-剖面
施正之建築師事務所
13,654
門
M_雙層鑲嵌玻璃店面-側燈處的門邊框-剖面
施正之建築師事務所
12,186
門
蝶型鉸鏈400
宗陞智能工程有限公司
6,317
窗
M_平天窗-剖面
施正之建築師事務所
14,207
門
M_雙層鑲嵌玻璃店面-門楣-剖面
施正之建築師事務所
12,026
門
3D鉸鏈400
宗陞智能工程有限公司
5,698
窗
M_鋼製固定窗-窗楣邊框-剖面
施正之建築師事務所
12,491
門
M_木製推拉門-固定邊框-剖面
施正之建築師事務所
11,485
窗
M_底板排氣口-連續-剖面
施正之建築師事務所
12,775
窗
M_包面木製滑軸窗-窗台-剖面
施正之建築師事務所
13,831
門
M_包面木製推拉門-匯合點-剖面
施正之建築師事務所
13,143
帷幕系統
M_矩形棋盤表面_V13
施正之建築師事務所
13,758
門
3D
60B防火遮煙捲簾_V18
BIM知識資源平台
2,792
帷幕系統
M_1-3 階梯表面_V13
施正之建築師事務所
14,694
帷幕系統
M_實體嵌板
施正之建築師事務所
13,394
門
M_門檻-地毯隔離板-剖面
施正之建築師事務所
11,764
門
M_包面木製推拉門-門楣-剖面
施正之建築師事務所
13,318
門
M_木製推拉門-操作邊框-剖面
施正之建築師事務所
12,076
門
M_木製門框-雙椎頭-剖面
施正之建築師事務所
13,869
窗
M_有裝飾外框的開口
施正之建築師事務所
14,159













