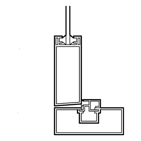
M_中央鑲嵌玻璃店面-塗層處的門邊框-剖面
OmniClass 編碼:22-08 41 00
OmniClass 類別:入口及店面櫥 Entrances and Storefronts
MasterFormat 編碼:08 41 00
MasterFormat 類別:入口和店面 Entrances and Storefronts
PCCES 編碼:08 400
PCCES 類別:入口及店面櫥窗 Entrances and Storefronts,
LOD:300
元件供應商:施正之建築師事務所
設計/生產地:資料建置中
產品網址:資料建置中
資料建置中
碳足跡:kgCO2e
資料建置中
初審單位:中華民國全國建築師公會
複審單位:中華民國全國建築師公會
Free
model formats
Revit
-
M_中央鑲嵌玻璃店面-塗層處的門邊框-剖面.rfaver.2018 236 KB
ArchiCAD
- 暫無資料
AutoCAD
- 暫無資料
IFC
- 暫無資料
評分與評論
5.0
共0 則評分
5
4
3
2
1
暫無評論
相關元件
門
M_捲簾門隔熱板-剖面
施正之建築師事務所
13,130
門
帷幕牆-單玻璃_V18
台灣積體電路製造股份有限公司
5,418
窗
M_鋼製固定窗-窗台-剖面
施正之建築師事務所
13,478
帷幕系統
M_實體嵌板
施正之建築師事務所
13,394
窗
M_天窗圍欄-單層鑲嵌玻璃-剖面
施正之建築師事務所
12,946
門
3D
60B抗風防颱型捲門_V18
BIM知識資源平台
2,626
門
天地鉸鍊_400
宗陞智能工程有限公司
5,689
窗
M_輕型架子外部
施正之建築師事務所
13,800
窗
M_開口-窗-圓形
施正之建築師事務所
12,966
門
M_木製推拉門-門檻-剖面
施正之建築師事務所
12,129
窗
M_包面木製推拉窗-邊框-剖面
施正之建築師事務所
11,790
窗
M_鋁製推拉窗-固定邊框-剖面
施正之建築師事務所
11,591
門
M_雙層鑲嵌玻璃店面-門楣-剖面
施正之建築師事務所
12,026
窗
M_角錐天窗-剖面
施正之建築師事務所
12,116
門
水平輔助鎖300
宗陞智能工程有限公司
6,188
帷幕系統
M_1-2 階梯表面_V13
施正之建築師事務所
12,227
門
M_門檻-偏移踏板-剖面
施正之建築師事務所
13,597
帷幕系統
M_六角形表面_V13
施正之建築師事務所
14,328
帷幕系統
M_三角形 (彎曲) 表面_V13
施正之建築師事務所
15,166
門
M_雙椎頭門框-剖面
施正之建築師事務所
12,240

