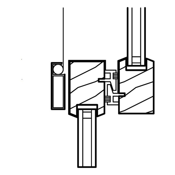
M_包面木製推拉門-匯合點-剖面
OmniClass 編碼:22-08 14 00
OmniClass 類別:木門 Wood Doors
MasterFormat 編碼:08 14 00
MasterFormat 類別:木門 Wood Doors
PCCES 編碼:08 210
PCCES 類別:木門 Wood Doors
LOD:300
元件供應商:施正之建築師事務所
設計/生產地:資料建置中
產品網址:資料建置中
資料建置中
碳足跡:kgCO2e
資料建置中
初審單位:中華民國全國建築師公會
複審單位:中華民國全國建築師公會
Free
model formats
Revit
-
M_包面木製推拉門-匯合點-剖面.rfaver.2018 240 KB
ArchiCAD
- 暫無資料
AutoCAD
- 暫無資料
IFC
- 暫無資料
評分與評論
5.0
共0 則評分
5
4
3
2
1
暫無評論
相關元件
門
天地鉸鍊_300
宗陞智能工程有限公司
5,992
帷幕系統
M_1-2 階梯表面_V13
施正之建築師事務所
12,227
門
3D
電動玻璃折疊門_V18
BIM知識資源平台
2,557
門
水平輔助鎖門把_V18
施正之建築師事務所
6,393
門
M_雙層鑲嵌玻璃店面-外部角豎框-剖面
施正之建築師事務所
11,621
門
M_捲簾門隔熱板-剖面
施正之建築師事務所
13,130
窗
M_鋼製固定窗-固定邊框-剖面
施正之建築師事務所
11,807
外牆
格柵排氣口35x30_V22
施正之建築師事務所
6,040
消防工程
3D
遮煙捲簾_V18
BIM知識資源平台
2,630
帷幕系統
M_三角形 (平) 表面_V13
施正之建築師事務所
12,462
窗
M_天窗圍欄-單層鑲嵌玻璃-剖面
施正之建築師事務所
11,682
帷幕系統
M_三角形 (彎曲) 表面_V13
施正之建築師事務所
15,166
窗
M_木製上下拉窗-窗台-剖面
施正之建築師事務所
12,952
帷幕系統
M_矩形棋盤表面_V13
施正之建築師事務所
13,758
窗
M_鋼製固定窗-豎框-剖面
施正之建築師事務所
12,101
門
隱藏式門弓器400
宗陞智能工程有限公司
6,208
門
M_中央鑲嵌玻璃店面-角豎框-剖面
施正之建築師事務所
12,269
門
平推鎖400
宗陞智能工程有限公司
6,446
窗
M_鋼製推拉窗-窗台-剖面
施正之建築師事務所
12,615
門
M_雙出口框架-剖面
施正之建築師事務所
13,513

